全国咨询热线
021-65371228
电动调节阀
电动阀
气动调节阀
电动阀门
气动阀门
电磁阀系列
化工耐腐阀门系列
衬氟三通球阀
水力控制阀系列
球阀系列
造纸行业通用阀门
减压阀系列
通用阀门系列
低温阀系列
电动阀门执行器及附件
气动阀门执行器及附件
电话:021-65371228
传真:021-65371707
邮箱:mdfamen@163.com
地址:上海金山区漕泾镇合展路188号
WY型卫生级不锈钢减压阀
本公司生产的卫生减压阀,采用镜面抛光的加工处理方式,了阀门内腔及表面的卫生要求,同时两端采用卡盘快装连接方式,便于阀门的拆卸和清洗;另外此款减压阀出厂标配隔膜压力表,可对阀门出口端的管道实际压力值的减压要求进行调试和监测。 卫生减压阀多用于食品,制,乳品,洁净室,生物工程等高洁净领域
卫生减压阀多用于食品,制,乳品,洁净室,生物工程等高洁净领域
一、 WY型卫生减压阀参数 阀门规格:DN15~DN80mm(1/2"~3") 接口方式:快装卡箍(WY81Y型),活结螺纹(WY21Y型),对焊焊接(WY61Y型), 法兰(WY41Y型) 阀体材质:不锈钢304,316L 阀体采用不锈钢304/316L材质锻造,阀门各个部件均由数控设备加工,阀部采用精密抛光处理,了阀门的高洁净要求,外表面有处理方法:镜面,亚光,喷砂等,工况需求。 适用介质:蒸汽,压缩空气,水等,其他介质需来电咨询定制,工作温度-20~200℃。 阀门使用参数: 端压力1.0MPA(10公斤) 出口端调压范围:0.08~0.8MPA(0.8~8公斤)(建议进出口压差2公斤以上) 二、WY型卫生不锈钢减压阀的工作原理 不锈钢减压阀应用于食品,,等行业的气体管路系统,起到减压稳压作用。本阀采用阀后压力反馈机构.工作中既减动压也减静压,水平安装,也可垂直安装,是压力控制系统中的理想产品。 减压阀的出口压力由导阀上的调节螺栓来控制,它与导阀上的针阀协调操作,一但调定后阀后压力便保持为恒定的常数。当主阀打开后,介质流向出口的同时也通过导阀进入主阀膜片室的上腔,使主阀板开口稳定在某个值,这样阀后压力便恒定。当出口压力,介质通过压力反馈系统使主阀上腔压力,主阀的上下腔压力平衡被破坏,将阀门的开度值减小,使通过开口介质的流速、动能改变后造成压力损失,阀后压力得到。反之,当阀后压力,则主阀板开度,阀后压力。
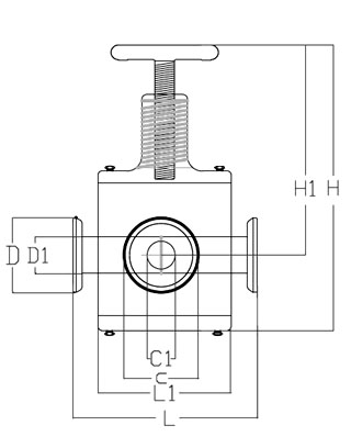
三外形尺寸
WT81型快装式减压阀外形尺寸(单位mm)
规格 D D1 C C1 L L1 H H1 1/2*DN15 25 12.7 50.5 19 125 90 245 190 3/4*DN20 25 50.5 19 1*DN25 50.5 25 1.25*DN32 32 1.5*DN40 39 145 110 260 200 2*DN50 64 51
25
50.5
四、安装调试注意事项
安装示意图
1.过滤器2.压力表3.减压阀4.截止阀5.安全阀6.旁通道
卫生级快装减压阀
顶部为压力调节螺母,可根据需要自行调节出口压力 调压步骤 1.取下塑料保护罩,松开并帽 2.顺时针往下拧紧螺母为出口压力增加;反之,逆时针往上松螺母为出口压力减小 3.压力设定完毕,紧固并帽,套上塑料保护罩。
衬氟隔膜阀
衬氟旋塞阀
衬氟放料球阀
衬氟止回阀H42F46
衬氟止回阀H44F46
衬氟止回阀H41F46
衬氟闸阀Z41F46
衬氟截止阀J45F46型